






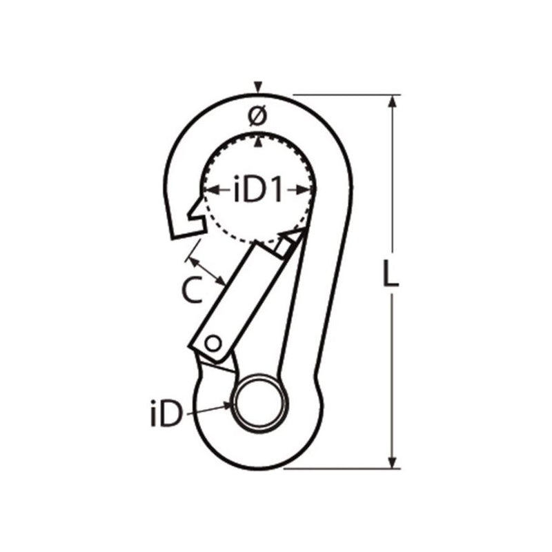
Marine-grade A4 - AISI 316 stainless steel firefighter eye snap hook! Our best value for money with a wide range. Made in Europe.
| Length L | Diameter ø |
Diameter iD | Passage C | Breaking Load |
| 40mm | 4mm | 4mm | 7mm | 260kg |
| 50mm | 5mm | 6mm | 8mm | 360kg |
| 70mm | 7mm | 9mm | 9mm | 550kg |
| 100mm | 10mm | 13mm | 12mm | 870kg |